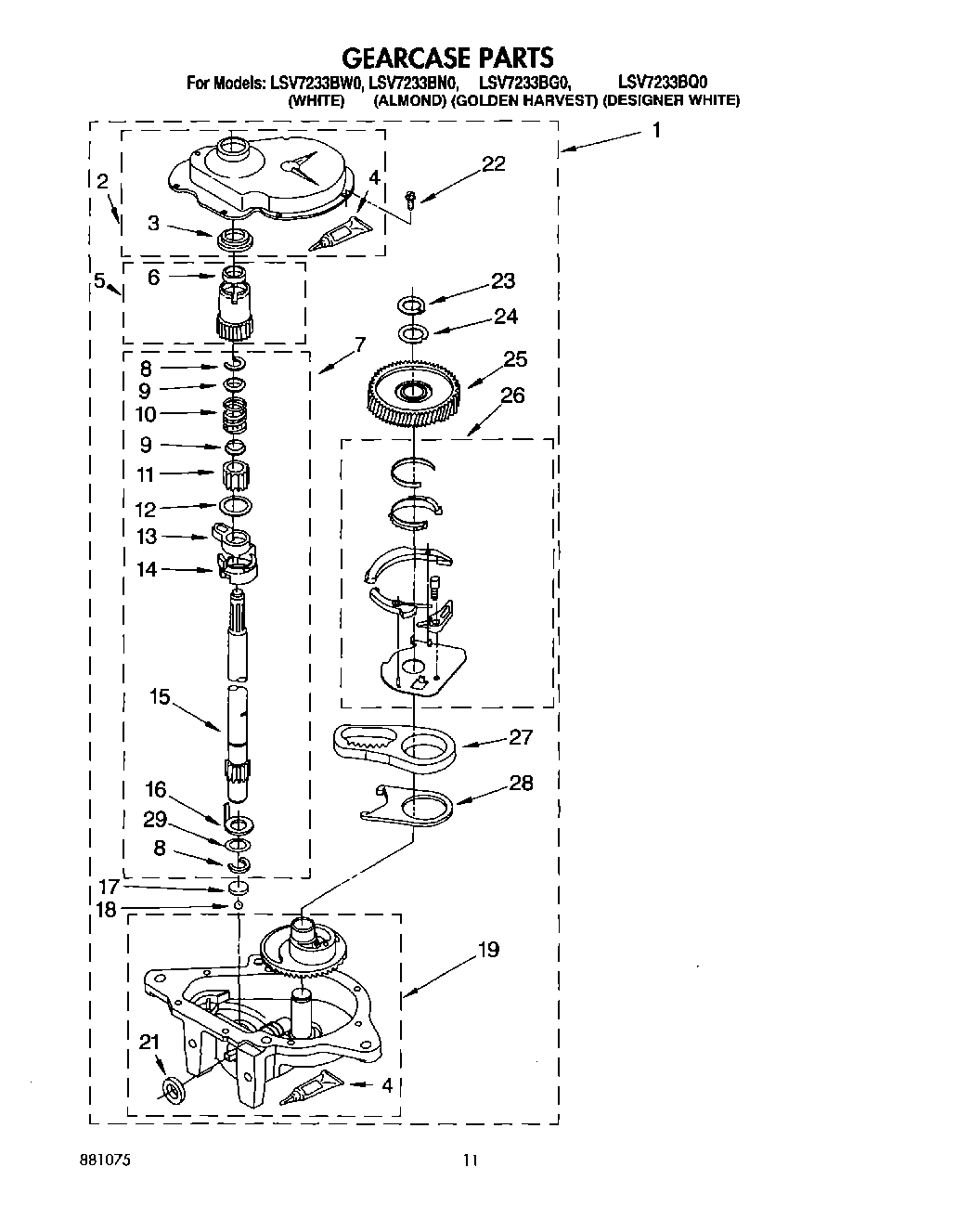
| 1 | 3360629 Whirlpool Washer Gearcase Transmission |
| 2 | 285202 Whirlpool Cover Assembly |
| 3 | WP3349985 Whirlpool Shaft Seal |
| 4 | WP285195 Whirlpool Sealer Assembly |
| 6 | WP356427 Whirlpool Shaft Seal |
| 8 | Ring, Retaining (2) |
| 9 | 62677 Whirlpool Retainer |
| 10 | Spring, Agitator |
| 12 | 62619 Whirlpool Washer |
| 15 | WP389387 Whirlpool Agitator Shaft |
| 16 | Washer, Cam Thrust |
| 17 | 285205 Whirlpool Bearing |
| 19 | Bottom and Pinion, Gearcase |
| 20 | Gear, Main Drive |
| 21 | 285352 Whirlpool Washer Oil Seal Kit for Gearcase Input Shaft |
| 22 | WP3351614 Whirlpool Screw |
| 23 | Ring, Retaining |
| 24 | Washer Kit, Thrust |
| 25 | WPW10233584 Whirlpool Spin Gear |
| 26 | NEUTRL-PAK |
| 29 | WP388815 Whirlpool Washer |