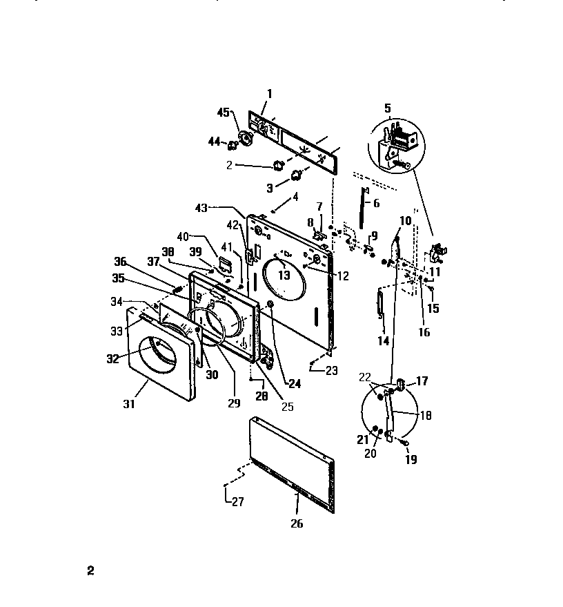
LT150EXD2 02 – DOOR, FRONT PANELadmin2025-04-26T08:56:57+00:00LT150EXD2 02 – DOOR, FRONT PANEL ProductsPositionProduct1WCI Q6300923KNOB TIMER5WCI Q1298235AWCI Q18256427WCI Q5005318WCI Q911919WCI Q746110WCI Q40680112WCI Q50395114WCI Q1194315WCI Q761717START SWITCH18WCI Q27312419WCI Q50369520LOCKWASHER21NUT22WCI Q50145023SCREW (4)24WCI Q50028225WCI Q18477726PANEL, ALMOND27WCI Q50168728WCI Q50168229WCI Q14749230WCI Q4012031WCI Q60333132WCI Q18330233WCI Q60368134WCI Q1790135WCI Q50166136WCI Q4011837WCI Q60003738WCI Q1343539WCI Q6220040WCI Q15177141WCI Q40310343WCI Q62171644WCI Q60374145WCI Q612436