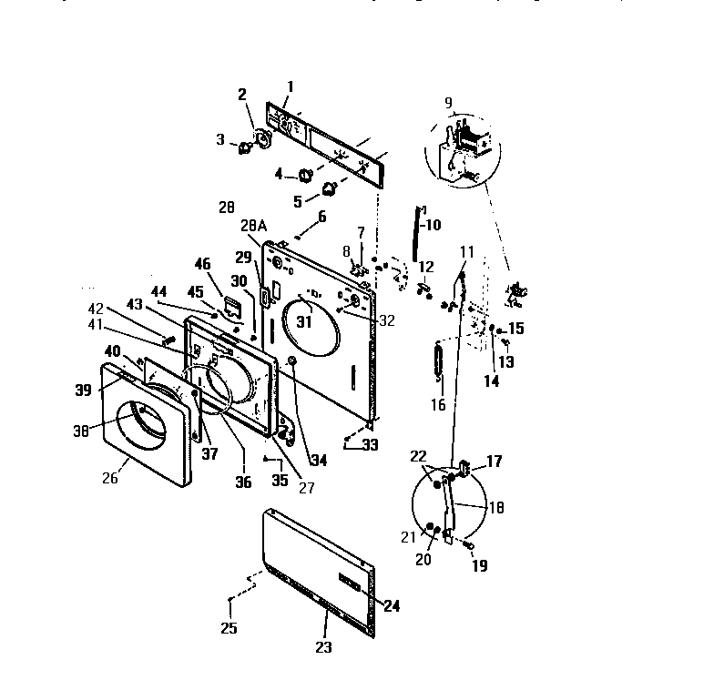
LT150JXD1 02 – DOOR & FRONT PANELadmin2025-04-26T08:56:51+00:00LT150JXD1 02 – DOOR & FRONT PANEL ProductsPositionProduct1WCI Q6340812WCI Q6124363WCI Q6037415KNOB, SWITCH, SELECTOR7WCI Q5005318WCI Q911919WCI Q1298239ASCREW (4)11WCI Q40680112WCI Q746113WCI Q761716WCI Q1194317START SWITCH18WCI Q27312419WCI Q50359620LOCKWASHER21NUT22WCI Q50145023PANEL, ALMOND24WCI Q60444325WCI Q50071826WCI Q60333127WCI Q18477728WCI Q62171631WCI Q40310332WCI Q50395133WCI Q50556434WCI Q5028235WCI Q50168236WCI Q14749237WCI Q4012038WCI Q18330239WCI Q62283140WCI Q1790141WCI Q50166142WCI Q4011843WCI Q60003744WCI Q1343545WCI Q6220046WCI Q151771