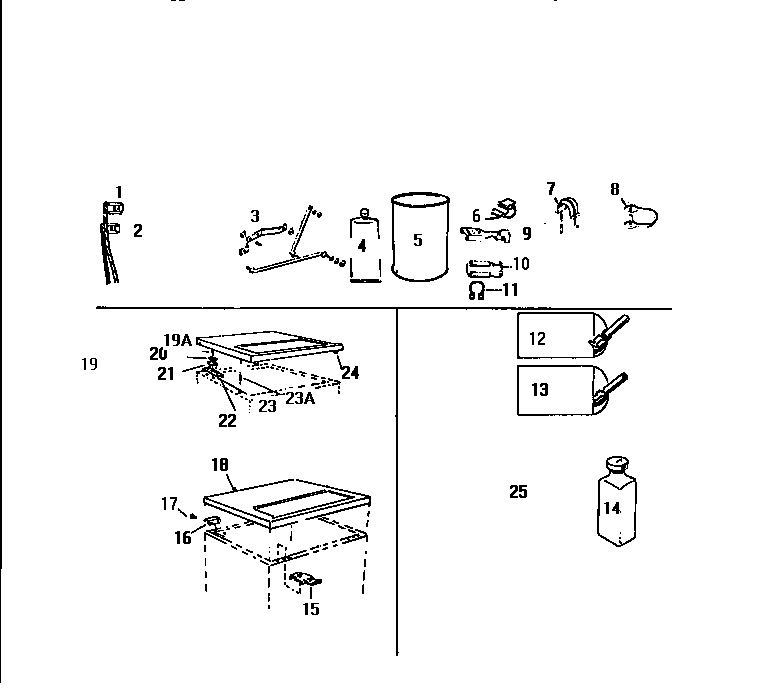
LT150JXD1 08 – MISCELLANEOUSadmin2025-04-26T08:57:02+00:00LT150JXD1 08 – MISCELLANEOUS ProductsPositionProduct1WCI Q1709122WCI Q6304013WCI Q888494WCI Q220725GREASE, 1 LB CAN6WCI Q6022077WCI Q6011718WCI Q6020639WCI Q30129610RECEPTACLE, STRAIGHT, FOR 3/16`` BLADE TERM. (PKG. OF 12)11WCI Q6219612PIN TERMINAL (12)13SOCKET TERMINAL (12)14TOUCH-UP PAINT, 1 OUNCE, ALMOND15WCI Q9465416WCI Q60006017WCI Q60656318WCI Q60158719AWCI Q41540320WCI Q8166621WCI Q6955122WCI Q6955223WCI Q60248223AWCI 146631424WCI Q60304126AWCI MODEL CCT170D26WCI NOTE