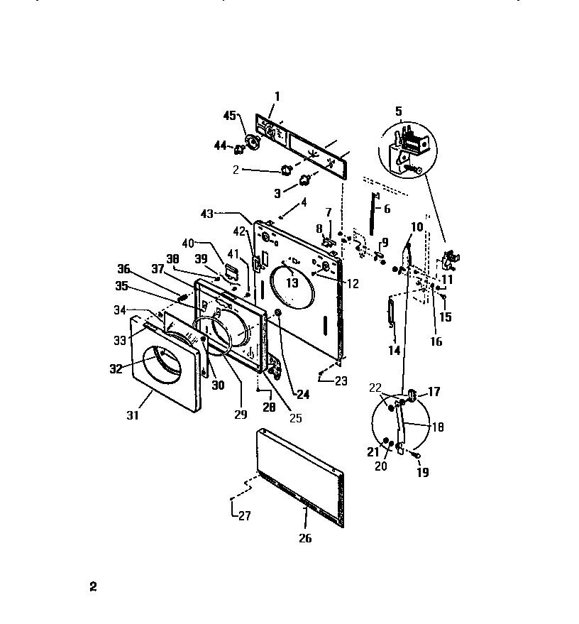
LT250EXF2 02 – DOOR, FRONT PANELadmin2025-04-26T08:56:58+00:00LT250EXF2 02 – DOOR, FRONT PANEL ProductsPositionProduct1WCI Q6300913KNOB TIMER4WCI Q5002945AWCI Q18256425WCI Q1298236WCI Q1516217WCI Q5005318WCI Q911919WCI Q746110WCI Q40680112WCI Q50395114WCI Q1194315WCI Q761717SWITCH DOOR - 1-2 MODELS18WCI Q27312419WCI Q50369520LOCKWASHER21NUT22WCI Q50145023SCREW (4)24WCI Q50028225WCI Q18477826WCI Q60200527WCI Q50168728WCI Q50168229WCI Q14749230WCI Q4012031WCI Q60333232WCI Q18330233WCI Q60368134WCI Q1790135WCI Q50166136WCI Q4011837WCI Q60003738WCI Q1343539WCI Q6220040WCI Q15177141WCI Q40310342WCI Q14939143WCI Q62171244WCI Q60374145WCI Q612436