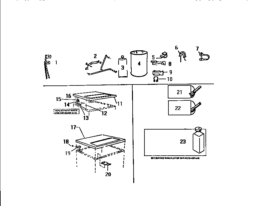
LT250EXH4 08 – MISCELLANEOUSadmin2025-04-26T08:56:50+00:00LT250EXH4 08 – MISCELLANEOUS ProductsPositionProduct*00522WCI CCT170H1AWCI Q6324711WCI Q1709112WCI Q888493WCI Q220724GREASE, 1 LB CAN5WCI Q5022076WCI Q5011717WCI Q5020638RECEPTACLE, STRAIGHT, 1/4`` BLADE TERMINAL (PKG. OF 12)9WCI Q30129610WCI Q6219611SPRING CATCH12AWCI 146631412WCI Q50248213WCI Q6955214WCI Q6955115WCI Q8166616WCI Q41540317WCI Q60322218SCREW (4)19WCI Q9465420WCI Q60006021WCI Q30128222WCI Q30128323WCI Q171157