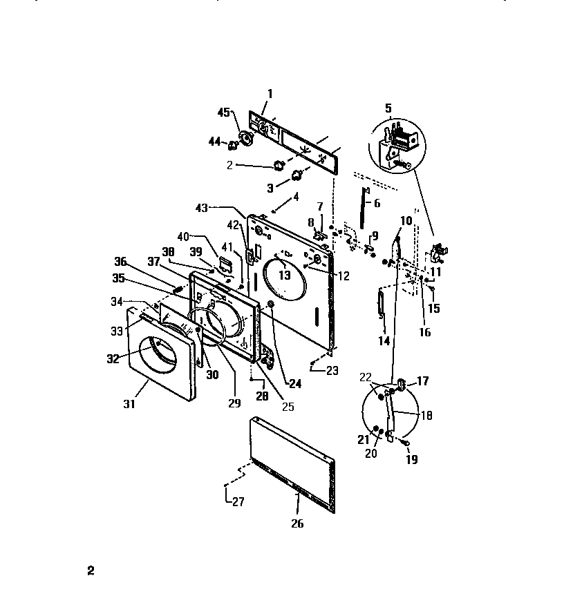
LT250EXW4 02 – DOOR, FRONT PANEL