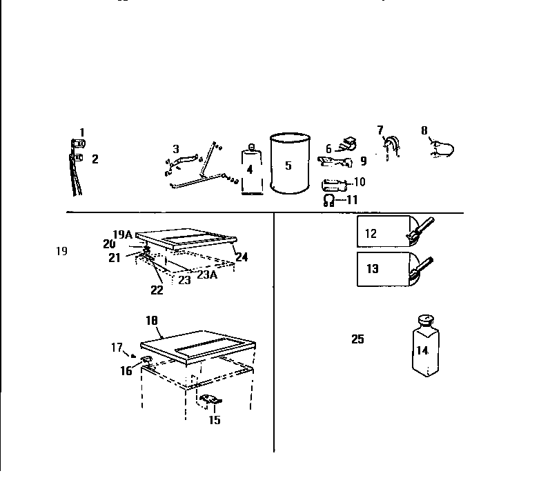
LT250JXV1 08 – MISCELLANEOUSadmin2025-04-26T08:56:54+00:00LT250JXV1 08 – MISCELLANEOUS ProductsPositionProduct1WCI Q1709112WCI Q6324713WCI Q888494WCI Q220725GREASE, 1 LB CAN6WCI Q6022077WCI Q6011718WCI Q6020639WCI Q30129610RECEPTACLE, STRAIGHT, FOR 3/16`` BLADE TERM. (PKG. OF 12)11WCI Q6219612PIN TERMINAL (12)13SOCKET TERMINAL (12)14TOUCH UP PAINT, 1 OZ., AVOCADO15WCI Q9465416WCI Q60006017WCI Q60656318WCI Q63022419AWCI Q41540320WCI Q8166621WCI Q6955122WCI Q6955223WCI Q60248223AWCI 146631424WCI Q60304126DWCI MODEL CCT170V26WCI NOTE