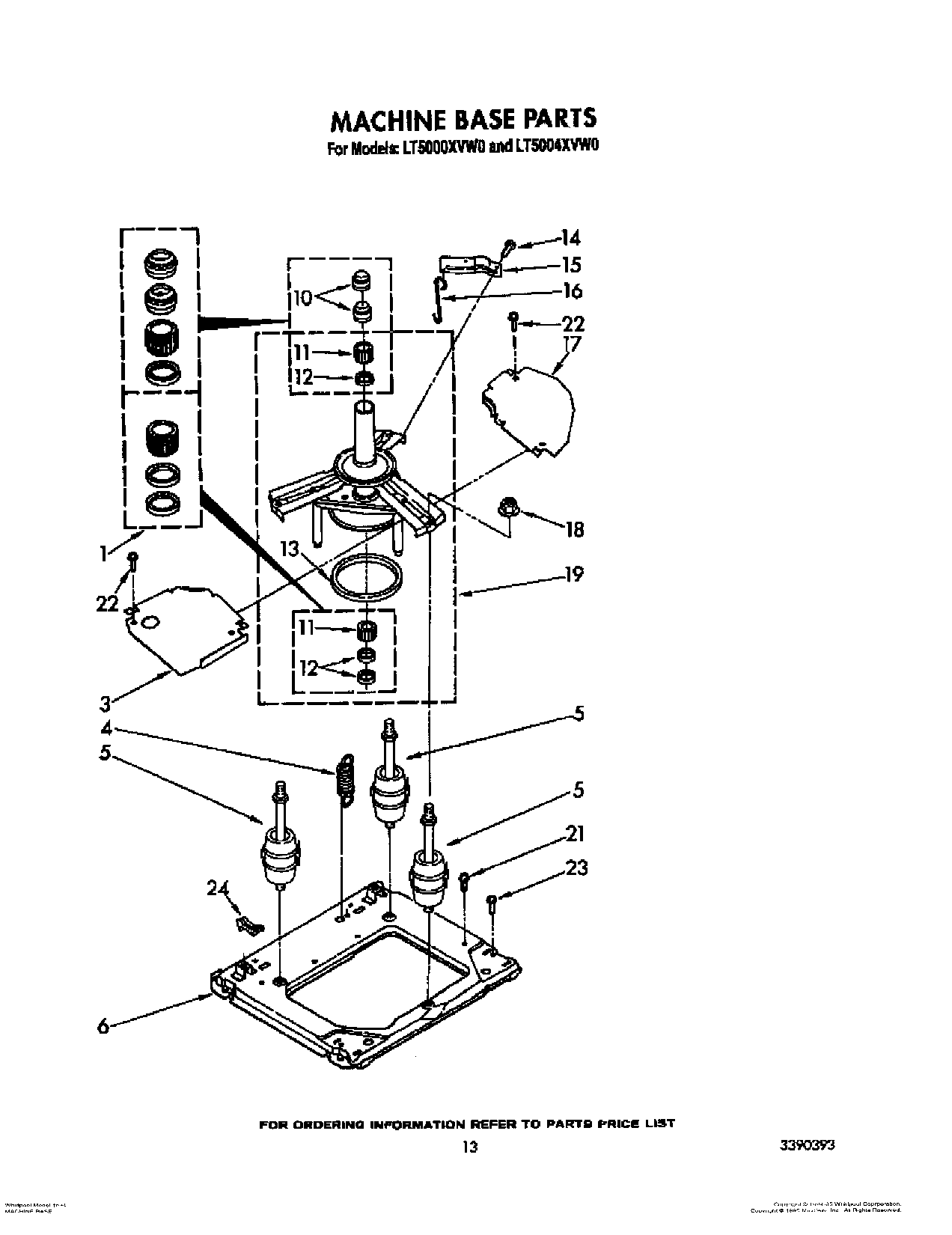
LT5004XVW0 10 – MACHINE BASE