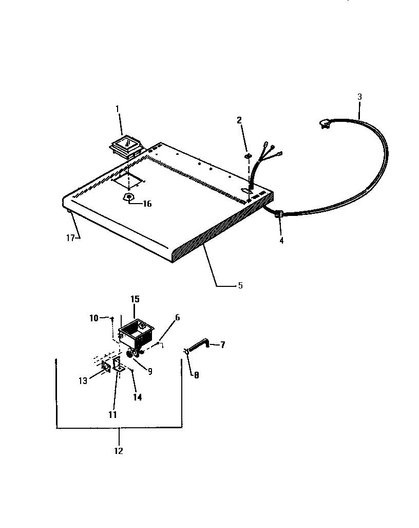
LT600EXD1 03 – TOP PANELadmin2025-04-26T08:57:27+00:00LT600EXD1 03 – TOP PANEL ProductsPositionProduct1WCI Q6036712WCI Q5030653CORD, SERVICE4WCI Q631375WCI Q6212466WCI Q5045647WCI Q1182758WCI Q5011559WCI Q9115311WCI Q60004412WCI Q8792313WCI Q8741914SCREW (4)15WCI Q9115216WCI Q50015217SPRING CATCH