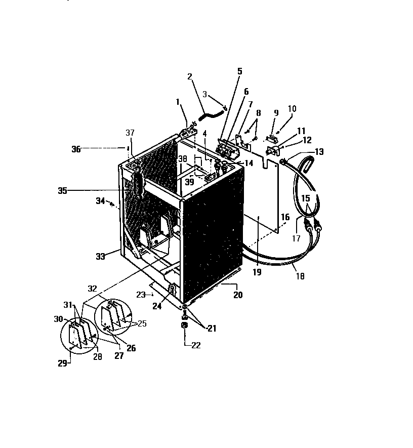
LT600JXV1 05 – CABINET, HOSESadmin2025-04-26T08:56:53+00:00LT600JXV1 05 – CABINET, HOSES ProductsPositionProduct1AIR GASP2WCI Q1561743WCI C5033564WCI Q4079015WCI Q6219326WCI Q1714477WCI Q6215429WCI Q15556110WCI Q43510811WCI Q60440213WCI Q50489514WCI Q41250115WCI Q1980116WCI Q50556417ASLEEVE, HOSE17WCI Q61408217CCLIP, WIRE17BCLAMP, OUTER HOSE18WCI Q60092119WCI Q63015120WCI Q11881121WCI Q1656722WCI Q1697124WCI Q15317525WCI Q12163826NUT27LOCKWASHER28WCI Q12163729WCI Q41920230PLATE (12)31SPACER (8 PER PKG)32WCI Q9352533BODY, FRESH AVOCADO (AVAILABLE DURING PRODUCTION ONLY)34WCI Q41180135WCI Q60321136WCI Q50248236AWCI 146631437WCI Q60004338SCREW (4)39WCI Q148837