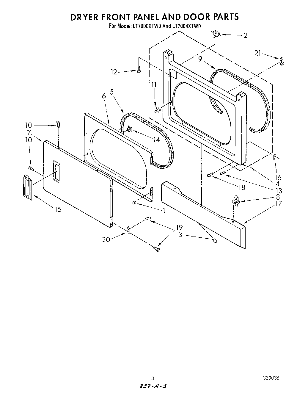
LT7004XTM0 03 – DRYER FRONT PANEL AND DOOR