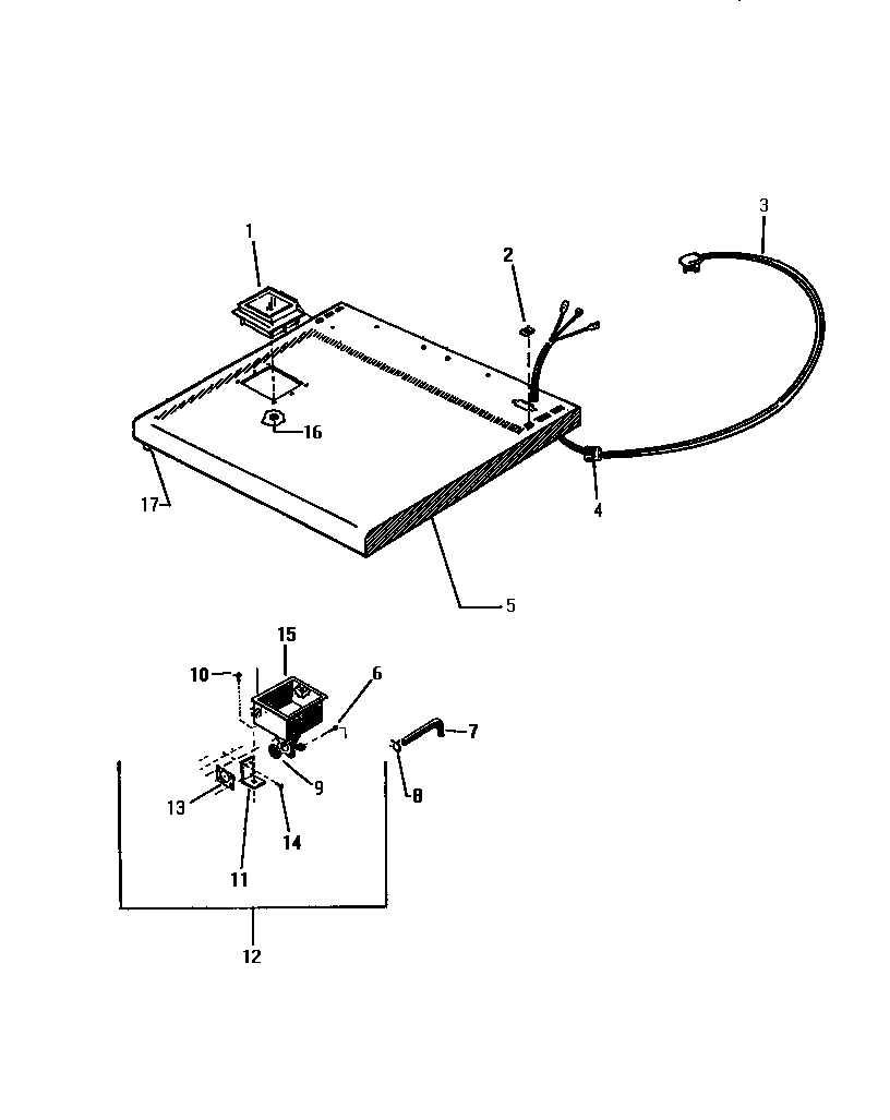
LT700EXV6 03 – TOP PANELadmin2025-04-26T08:56:53+00:00LT700EXV6 03 – TOP PANEL ProductsPositionProduct1WCI Q6036742WCI Q5030653CORD, SERVICE4WCI Q631375WCI Q6212546WCI Q5045647WCI Q1182758WCI Q5011559WCI Q9115311WCI Q60004412WCI Q8792313WCI Q8741914SCREW (4)15WCI Q9115216WCI Q50015217SPRING CATCH