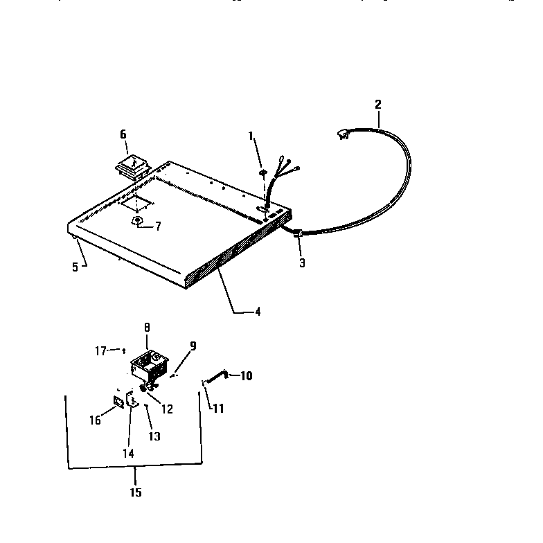
LT700JXW1 03 – TOP PANELadmin2025-04-26T08:56:51+00:00LT700JXW1 03 – TOP PANEL ProductsPositionProduct1WCI Q5030652CORD, SERVICE3WCI Q631374WCI Q6212555SPRING CATCH6WCI Q6036767WCI Q5001528WCI Q911529WCI Q50456410WCI Q11827511WCI Q50115512WCI Q9115314WCI Q60004415WCI Q8792316WCI Q8741917SCREW (4)