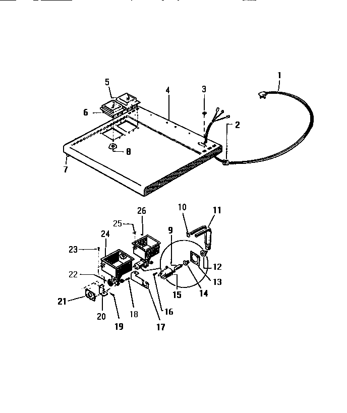
LT800EXV1 03 – TOP PANELadmin2025-04-26T08:57:33+00:00LT800EXV1 03 – TOP PANEL ProductsPositionProduct*84760WCI Q87922*84761WCI Q879231CORD, SERVICE2WCI Q631373WCI Q5030654WCI Q6212595WCI Q6036726WCI Q6036717SPRING CATCH8WCI Q5001529WCI Q8749210WCI Q50115511WCI Q11827212WCI Q8745514WCI Q8749315WCI Q8749116WCI 146868117WCI Q8742118WCI Q50456419SCREW (4)20WCI Q60004421WCI Q8741922WCI Q9115323WCI Q50556325WCI Q50555626WCI Q91152