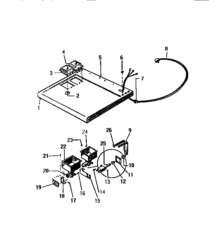
LT800JXD1 03 – TOP PANEL