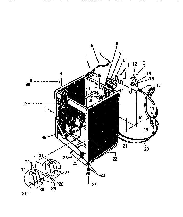
LT800JXV1 05 – CABINET, HOSES