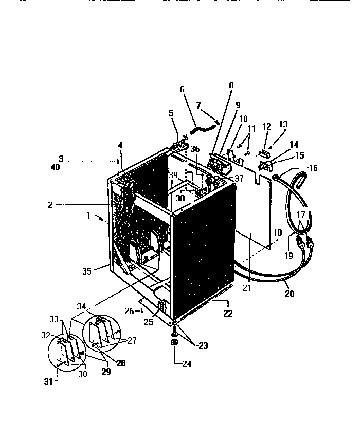
LT800JXW1 05 – CABINET, HOSESadmin2025-04-26T08:56:57+00:00LT800JXW1 05 – CABINET, HOSES ProductsPositionProduct*30164CLAMP, OUTER HOSE*30163SLEEVE, HOSE*30162CLIP, WIRE1WCI Q4118012WCI Q6032113WCI Q5024824WCI Q6000435AIR GASP6WCI Q1561747WCI C5033568WCI Q6219329WCI Q17144710WCI Q62154212WCI Q15556114WCI Q60440216WCI Q50489517WCI Q1980118WCI Q50556419WCI Q61408220WCI Q60092121WCI Q63015122WCI Q11881123WCI Q1656724WCI Q1697125WCI Q15317527WCI Q12163828NUT29LOCKWASHER30WCI Q12163731WCI Q41920232PLATE (12)33SPACER (8 PER PKG)34WCI Q9352535BODY, WHITE (SEE NOTE 2)36WCI Q40790137WCI Q41250138WCI Q14883739SCREW (4)40WCI 1466314