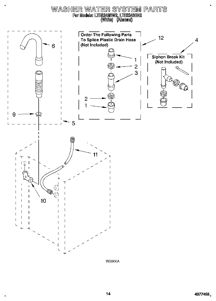
LTE5243BN2 11 – WASHER WATER SYSTEMadmin2025-04-26T13:04:43+00:00LTE5243BN2 11 – WASHER WATER SYSTEM ProductsPositionProduct1285321 Whirlpool Sleeve2WP285655 Whirlpool Hose Clamp3WP16272 Whirlpool Hose Coupling4285320 Whirlpool Washer Siphon Break Kit5285664 Whirlpool Drain Hose5285666 Whirlpool Drain Hose 10'6WP3357027 Whirlpool Nozzle Assembly9WP3357331 Whirlpool Clamp10W11213338 Whirlpool Connector11WP89503 Whirlpool Washer Fill Hose12285442 Whirlpool Coupling