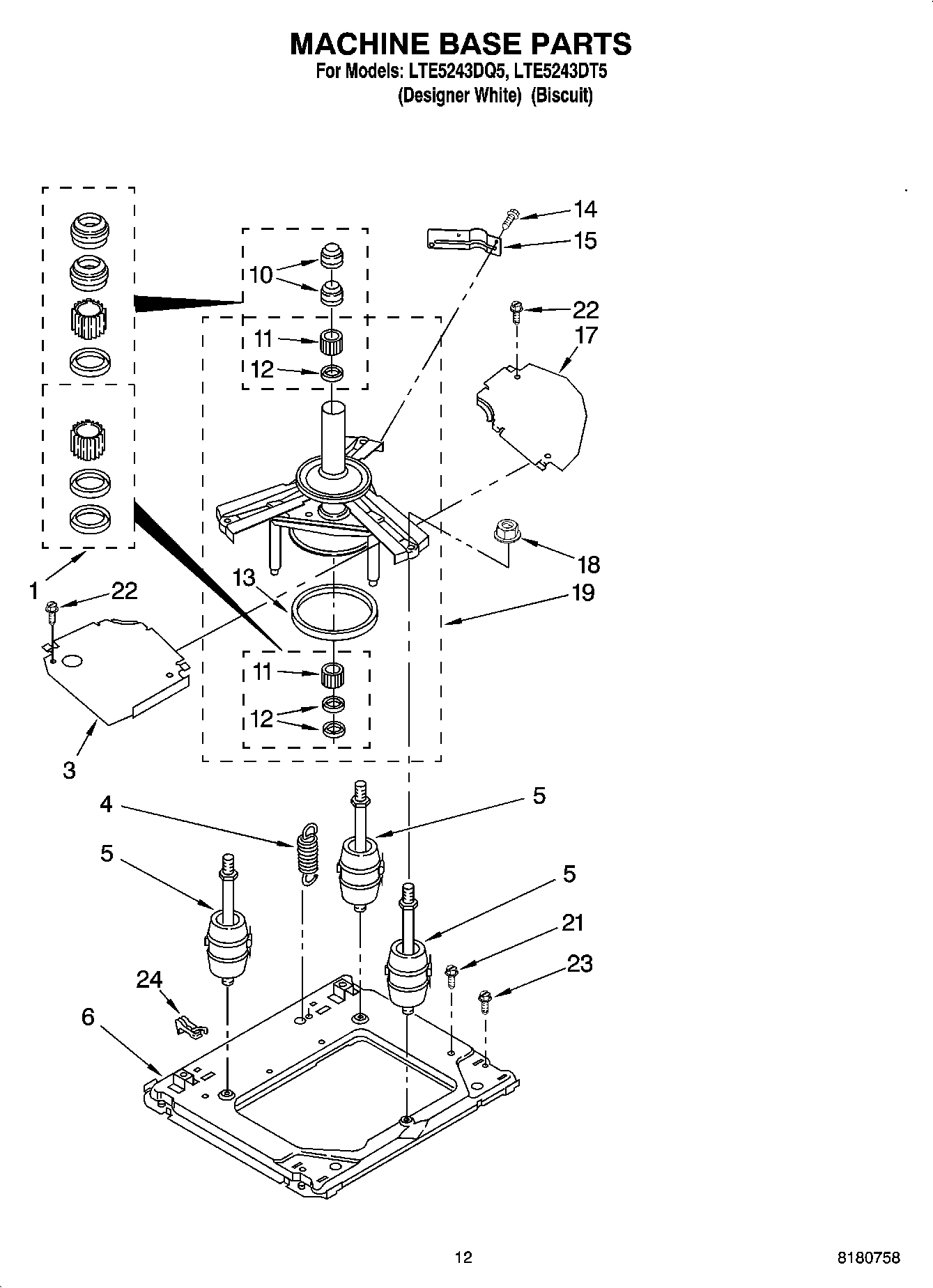
LTE5243DQ5 09 – MACHINE BASE PARTS