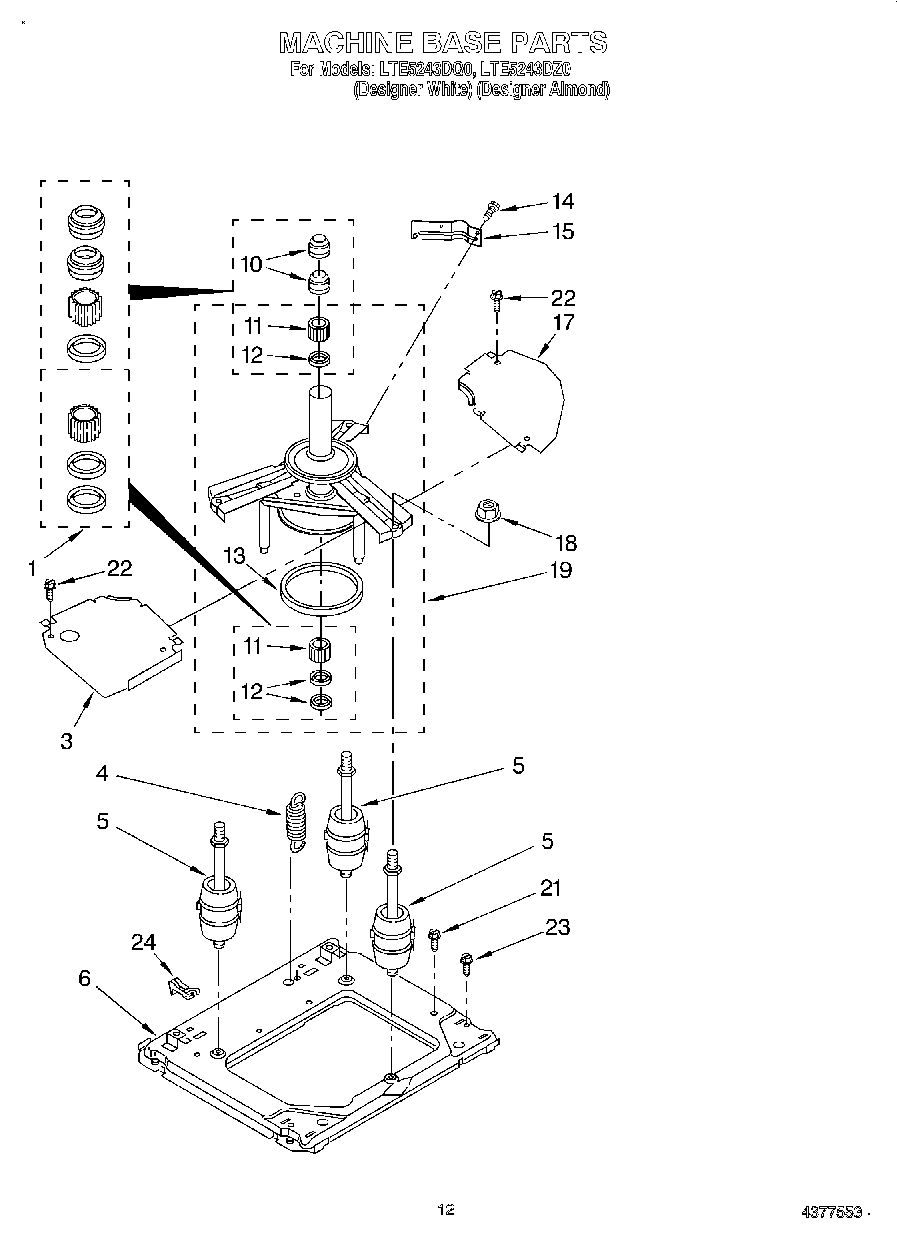
LTE5243DZ0 09 – MACHINE BASE