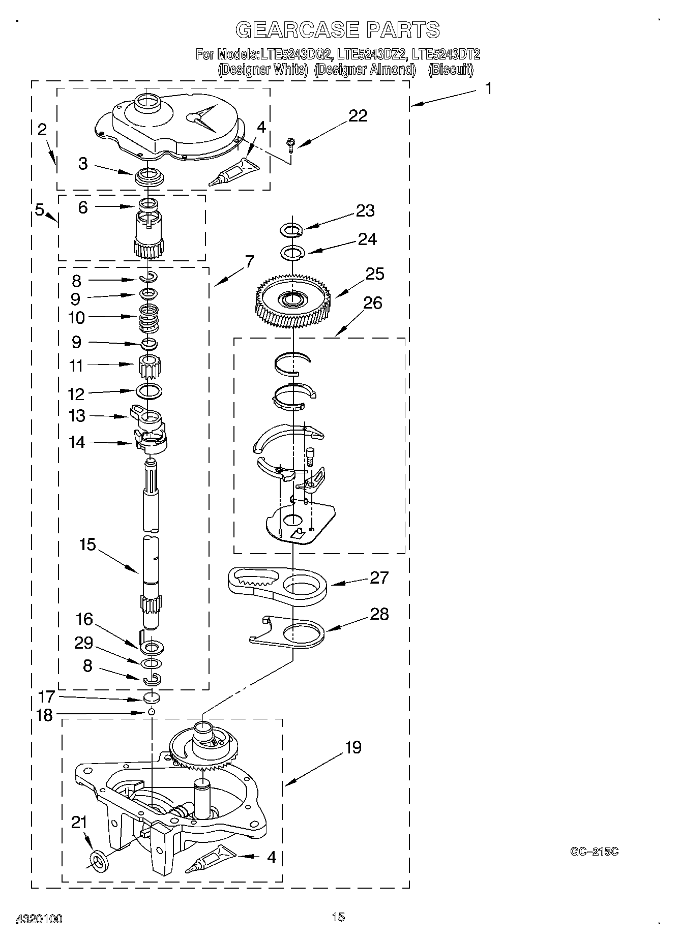
LTE5243DZ2 12 – GEARCASE