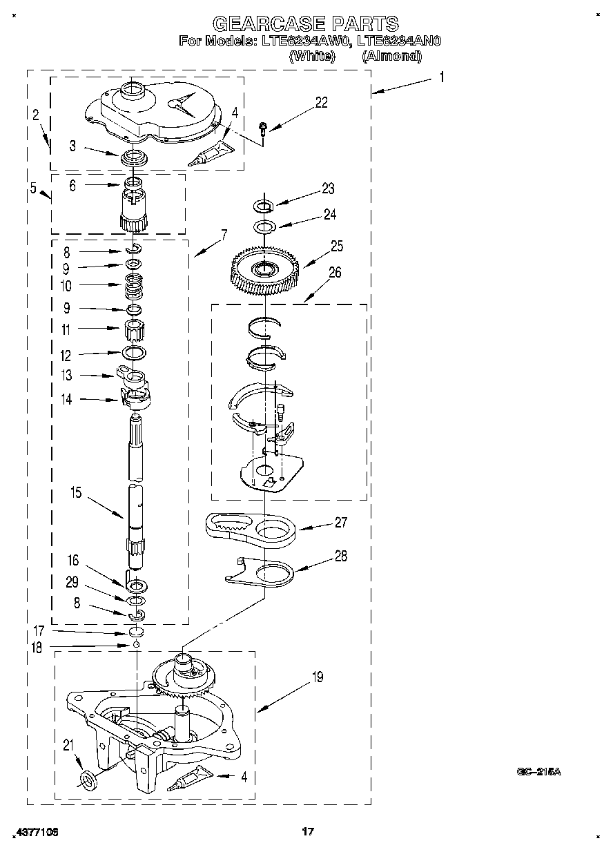
LTE6234AN0 11 – GEARCASE