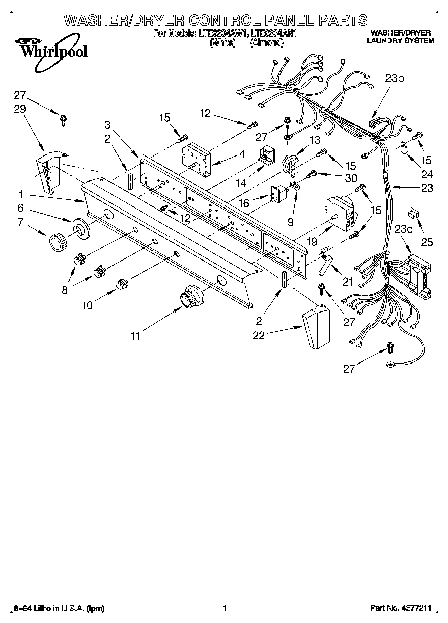
LTE6234AN1 01 – WASHER/DRYER CONTROL PANELadmin2025-04-26T12:18:30+00:00LTE6234AN1 01 – WASHER/DRYER CONTROL PANEL ProductsPositionProduct1Panel, Control (Almond)1Panel, Control (White)23390688 Whirlpool Bumper Assembly3Bracket, Control (Includes Illus. 2)4285938 Whirlpool Washer Timer6Skirt, Timer Knob (Washer) (Almond)6Skirt, Timer Knob (Washer) (White)7WP3364293 Whirlpool Timer Knob8WP3957796 Whirlpool Knob83957797 Whirlpool Knob9279872 Whirlpool Resistor10WP3957800 Whirlpool Knob11WP3957750 Whirlpool Knob12WP356418 Whirlpool Screw13Switch, Pressure14Switch, Water Temperature (Alt.)15WP3390631 Whirlpool Screw16Switch, Push-To-Start19WP3976569 Whirlpool Timer213389453 Whirlpool Hinge Assembly22End Cap-Right Hand (Almond)22End Cap (RH)23Harness - Dryer23WP62889 Whirlpool Washer Lid Switch Terminal Receptacle233395683 Whirlpool Connector247111P002-60 Whirlpool Clamp25Clip, Harness (2)29End Cap (LH) (Almond)29End Cap (LH)30SCREW