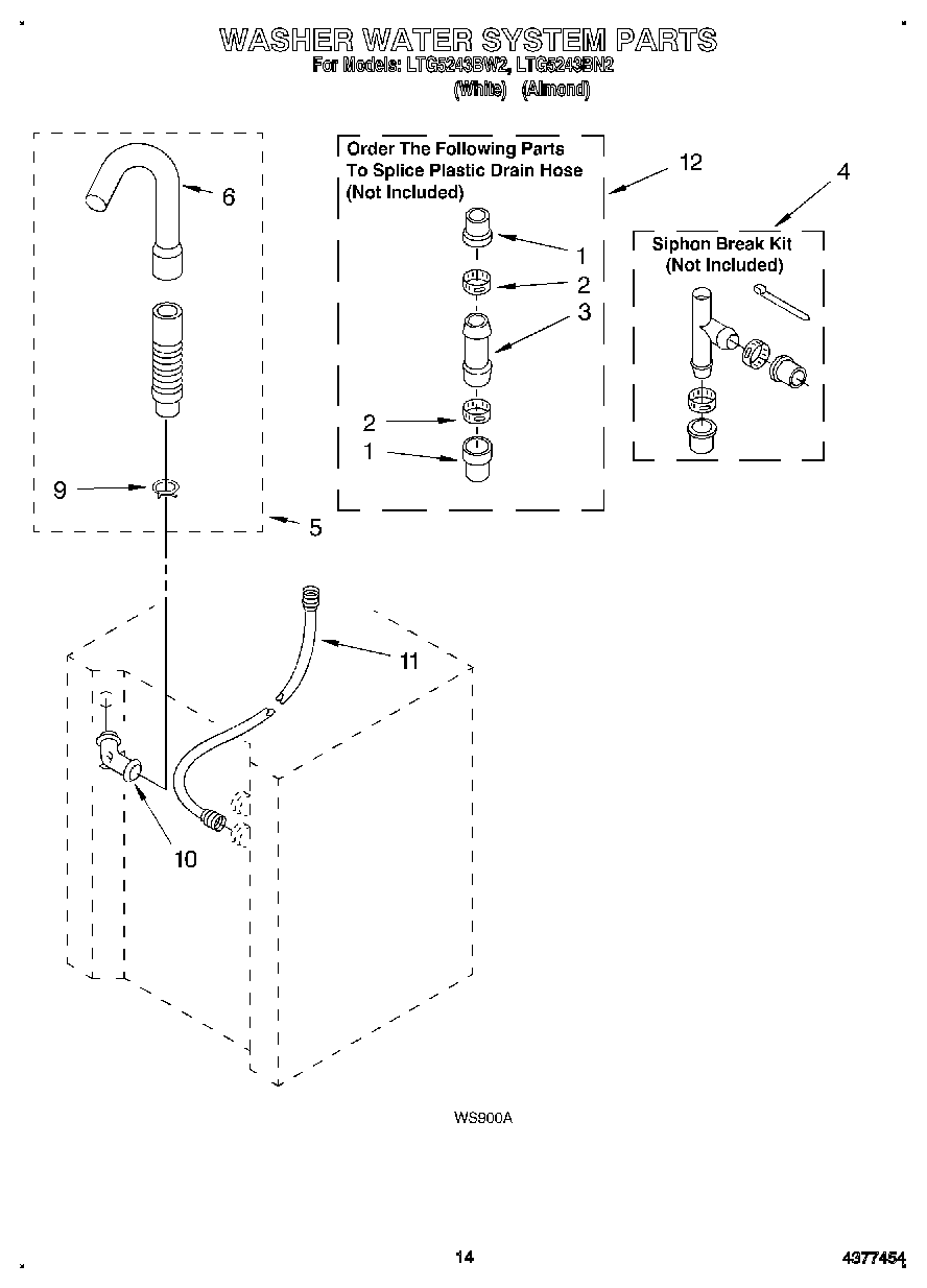
LTG5243BN2 11 – WASHER WATER SYSTEM