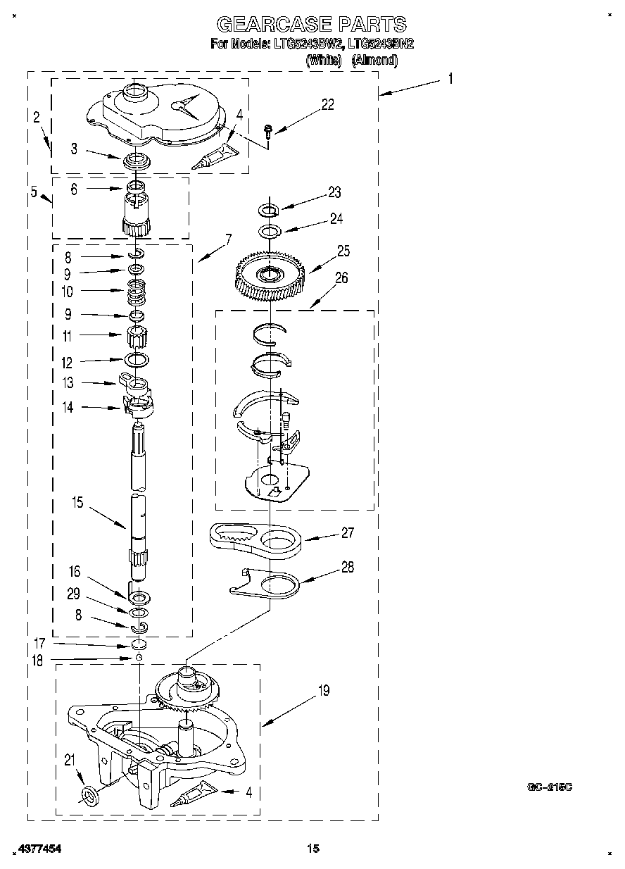
LTG5243BN2 12 – GEARCASE