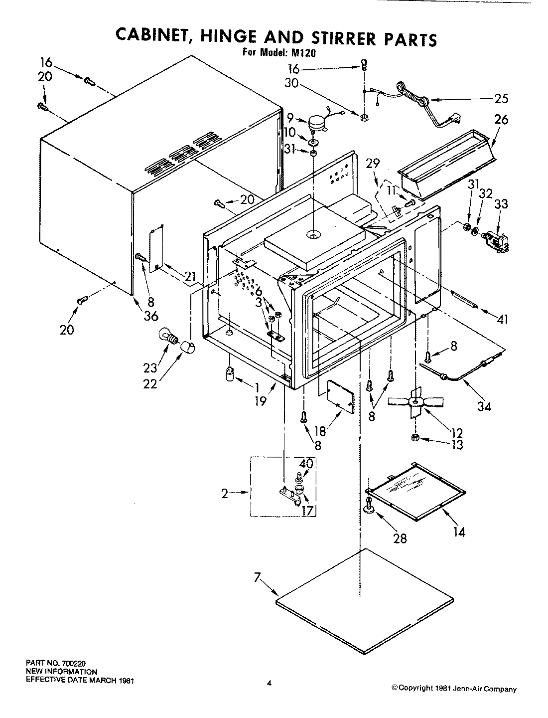
M120 03 – DOOR ASSEMBLYadmin2025-04-26T09:25:39+00:00M120 03 – DOOR ASSEMBLY ProductsPositionProduct1MAY 7009812MAY 7009823MAY 7009864MAY 7011645MAY 7010086MAY 7009847MAY 7009878MAY 7011529MAY 70104610MAY 70109011MAY 70104712MAY 70106313MAY 70106414MAY 70104515MAY 70106016MAY 70104317MAY 70104418MAY 70104919MAY 70114320MAY 70104821MAY 70106123MAY 70099024MAY 70107825MAY 70110926MAY 70106527MAY 70105528MAY 70105629MAY 70099131MAY 70099232MAY 70105433SCREW34MAY 70101035MAY 70115036MAY 70112237MAY 70112338MAY 701147