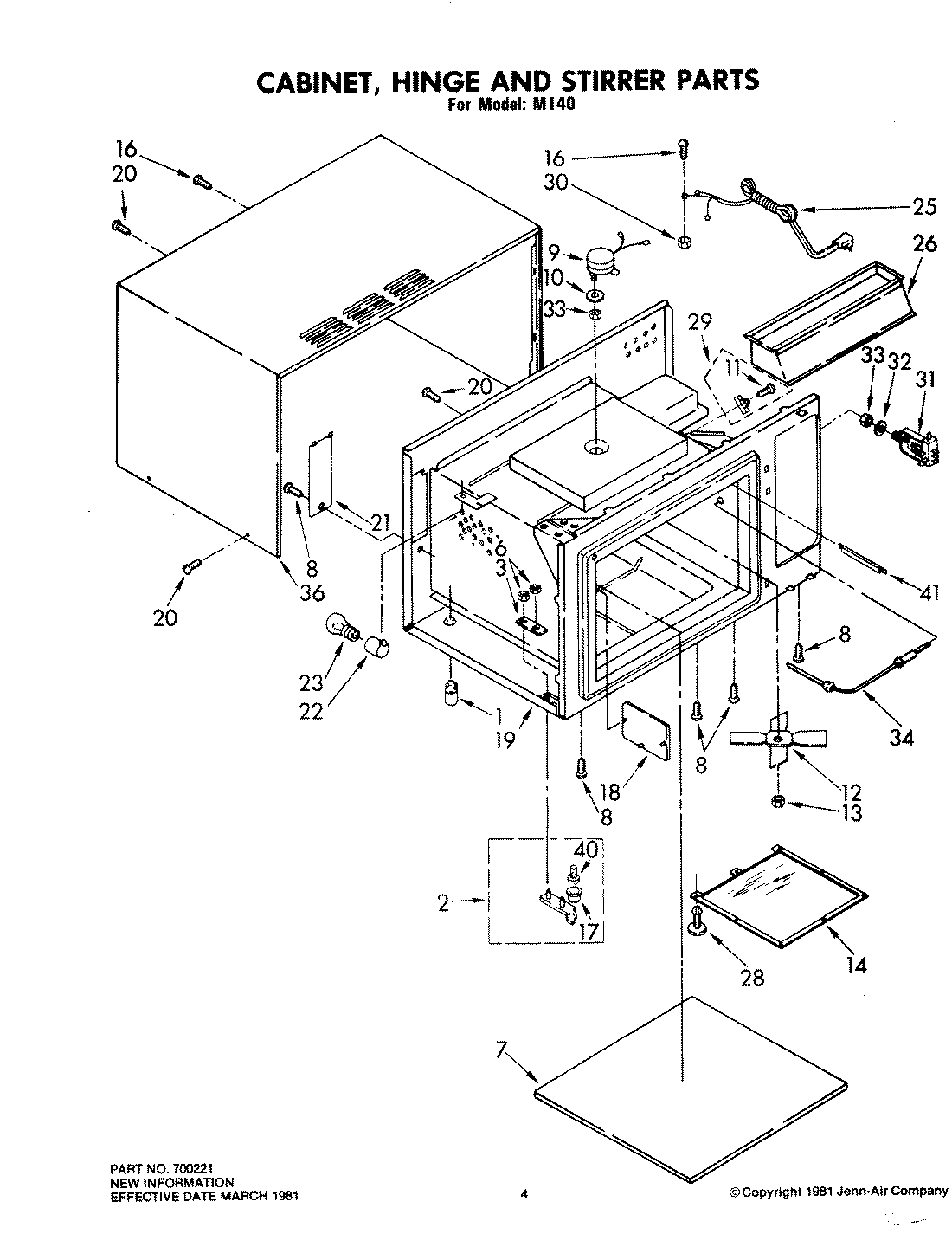
M140 01 – CABINET ASSEMBLYadmin2025-04-26T09:24:14+00:00M140 01 – CABINET ASSEMBLY ProductsPositionProduct1MAY 7009832MAY 7011182MAY 7011193MAY 7009787MAY 7010138MAY 7009699MAY 70115710MAY 70115811MAY 70096512MAY 70103913MAY 70098814MAY 70101916MAY 70097117MAY 70102618MAY 70097619NOT REQUIRED PART OR SEE NOTE FUSE (NOT REQUIRED)20MAY 70099921MAY 70097522MAY 70097723MAY Y70115925MAY 70110726MAY 70102028MAY 70109529MAY Y70101530MAY 70102231MAY 70102832MAY 70103333MAY Y70103234MAY Y70088434MAY Y70116036MAY 70116140MAY 70100841MAY 70101841MAY 70097241MAY 70112941MAY 701130