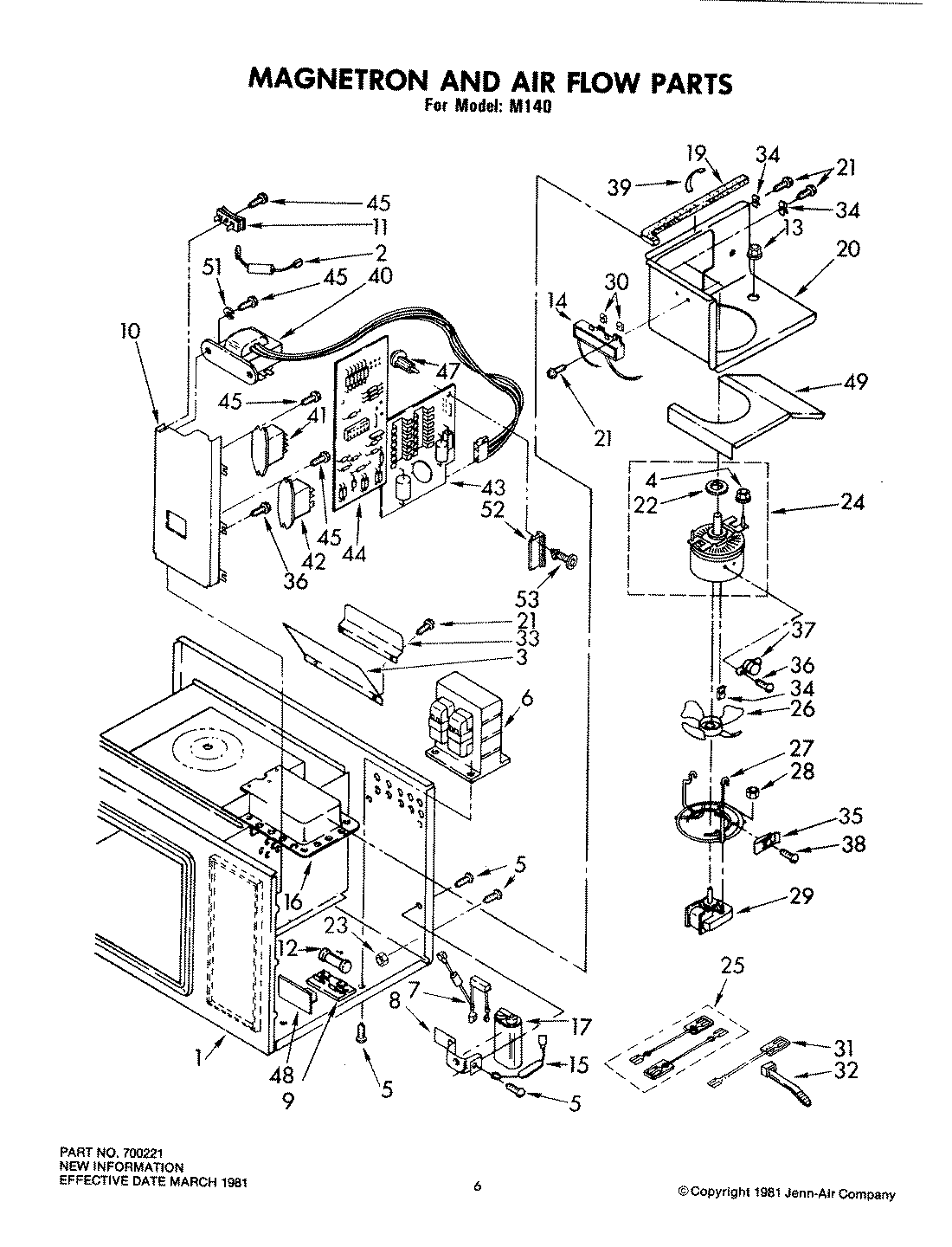
M140 03 – MAGNETRON ASSEMBLYadmin2025-04-26T09:24:42+00:00M140 03 – MAGNETRON ASSEMBLY ProductsPositionProduct2MAY 7011163MAY 7009954MAY 7010755MAY 7009716MAY 7009987MAY 7011178MAY 7010079MAY 70103410MAY 70104011MAY 70111512MAY 70103513MAY 70100314MAY 70102514MAY 70103615MAY 70112016NOT REQUIRED PART OR SEE NOTE FUSE (NOT REQUIRED)17MAY 70109317MAY 70109719MAY 70099420MAY 70097921MAY 70096622MAY 70100023MAY 70102224MAY 70115424MAY 70107425MAY 70097326MAY 70098027MAY 70109228MAY 70115529MAY 70106629MAY 70110830MAY 70114631MAY 70101132MAY 70101633MAY 70100134MAY 70112635MAY 70100936MAY 70096537MAY 70098938MAY 70115639MAY 70114840MAY 70113241MAY 70108741MAY 70108542MAY Y70108642MAY Y70108843MAY 70113944MAY 70113645MAY Y70096447MAY 70111048MAY 70109149MAY 70109451MAY 70096352MAY 70109653MAY 701095