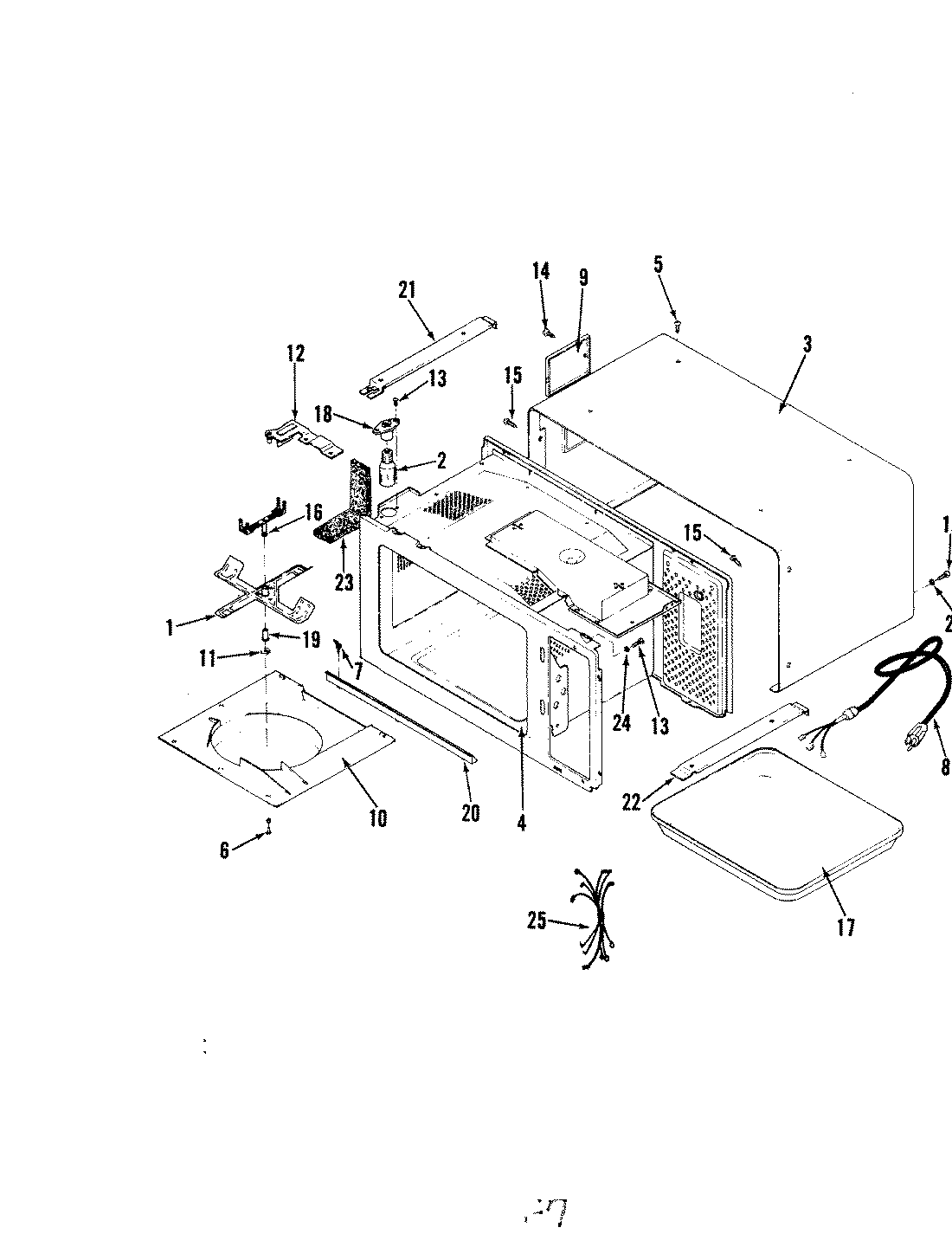
M205 02 – CAVITY & CABINETadmin2025-04-26T13:11:27+00:00M205 02 – CAVITY & CABINET ProductsPositionProduct1MAY SM929920142MAY SM205930103MAY SM640121474MAY SM929120625MAY SM663420776MAY SM663421027MAY SM663422028MAY SM919321019MAY SM6153207910MAY SM6051206211MAY SM7354200512MAY SM6664208513MAY SM7128240114MAY SM7138240115MAY SM7108240116MAY SM6464218017MAY SM6112206518MAY SM9199202119MAY SM6814212720MAY SM6812201721MAY SM6653208922MAY SM6653209023MAY SM6809217524MAY SM7328204025MAY SM91922129