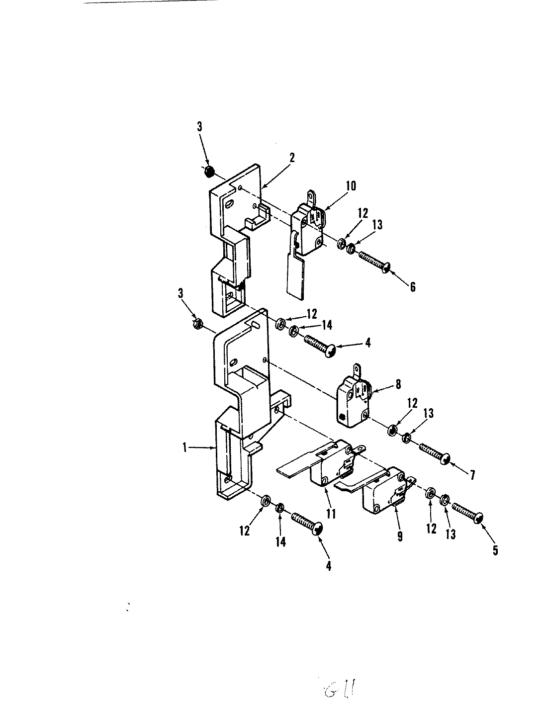
M215 05 – INTERLOCK SWITCHESadmin2025-04-26T13:10:24+00:00M215 05 – INTERLOCK SWITCHES ProductsPositionProduct1MAY SM646320972MAY SM646320963MAY SM720811304MAY SM700814035MAY SM700813026MAY SM700813017MAY SM710824028MAY SM357920319MAY SM3579213210MAY SM3579213311MAY SM3579213412MAY SM7308204013MAY SM7318103014MAY SM73181040