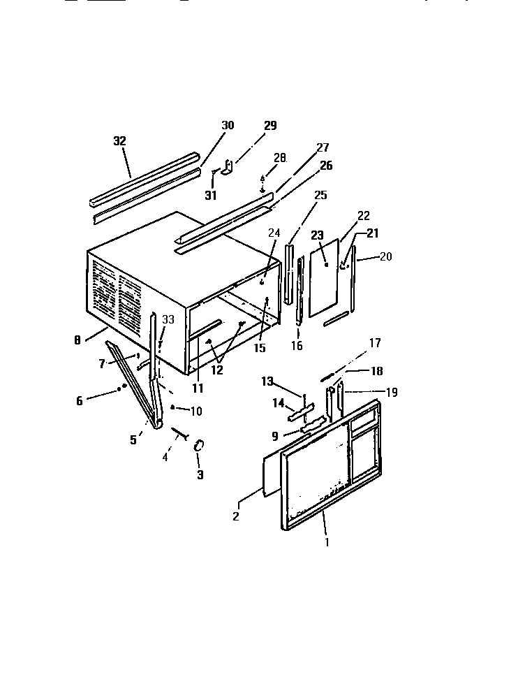
M528A2SA 02 – CABINET, FRONT, WRAPPER