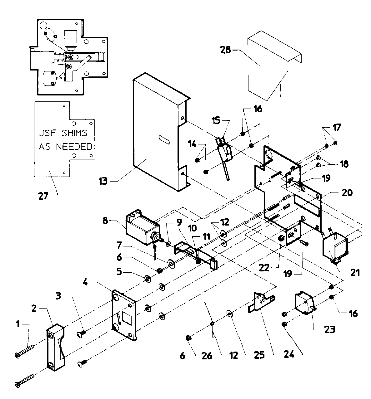
MAF18MC4VW 03 – DOOR SAFETY INTERLOCK (MAF18MC4Vx)
Products
| Position | Product |
|---|---|
| 001 | MAY 24001642 |
| 002 | MAY 24001483 |
| 003 | MAY 24001323 |
| 004 | MAY 24001484 |
| 005 | MAY 24001295 |
| 006 | MAY 24001342 |
| 007 | MAY 24001485 |
| 008 | MAY 24001101 |
| 009 | MAY 24001358 |
| 010 | MAY 24001250 |
| 011 | MAY 24001481 |
| 012 | MAY 24001480 |
| 013 | MAY 24001487 |
| 014 | MAY 24001476 |
| 015 | MAY 24001229 |
| 016 | MAY 24001477 |
| 017 | MAY 24001643 |
| 018 | MAY 24001479 |
| 019 | MAY 24001301 |
| 020 | DOWEL PIN FOR HANDLE |
| 021 | MAY 24001102 |
| 022 | MAY 24001305 |
| 023 | MAY 24001255 |
| 024 | MAY 24001736 |
| 025 | MAY 24001230 |
| 026 | MAY 24001293 |
| 027 | MAY 24001559 |
| 028 | MAY 24001640 |
| 028 | MAY 24001488 |