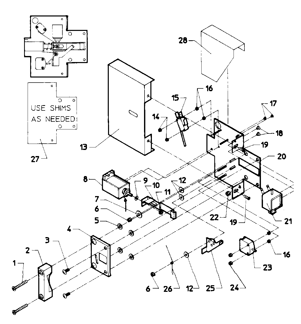
MAF35PN1 03 – DOOR SAFETY INTERLOCK – COIN MODELS

MAF35PN1 03 – DOOR SAFETY INTERLOCK – COIN MODELS