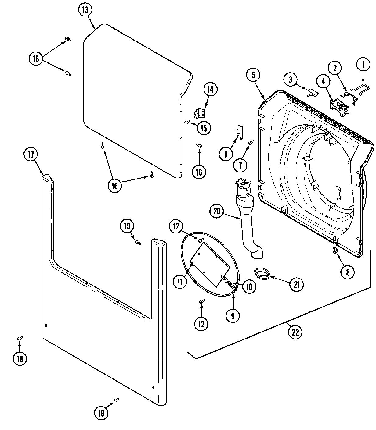
MAH14PDAAL 06 – DOOR & FRONT PANELadmin2025-04-26T13:11:16+00:00MAH14PDAAL 06 – DOOR & FRONT PANEL ProductsPositionProduct001MAY 22002002002MAY 22002003003NOT REQUIRED PART OR SEE NOTE FUSE (NOT REQUIRED)003MAY 22002167003MAY 22002166004MAY 22002168005MAY 22002251005MAY 22003077005MAY 2200254000522003083 Whirlpool Door Liner Assembly005MAY 22002253005DOOR, INNER (WHT)005MAY 22002250006MAY 22002038008MAY 22002039009WIREFRAME010MAY 22002356011MAY 22002094012SCREW013MAY 22002333013MAY 22001980013MAY 22001979014WP22002798 Whirlpool Door Hinge015WP98006631 Whirlpool Screw016MAY 22002063016SCREW01722002836 Whirlpool Oven Front Primary Panel017DOWEL PIN FOR HANDLE017MAY 22002241017MAY 22002087018WP22001496 Whirlpool Screw019MAY 22002244019WP22002012 Whirlpool Screw Assembly020MAY 22002990021WP22003075 Whirlpool Grommet022MAY 22003084