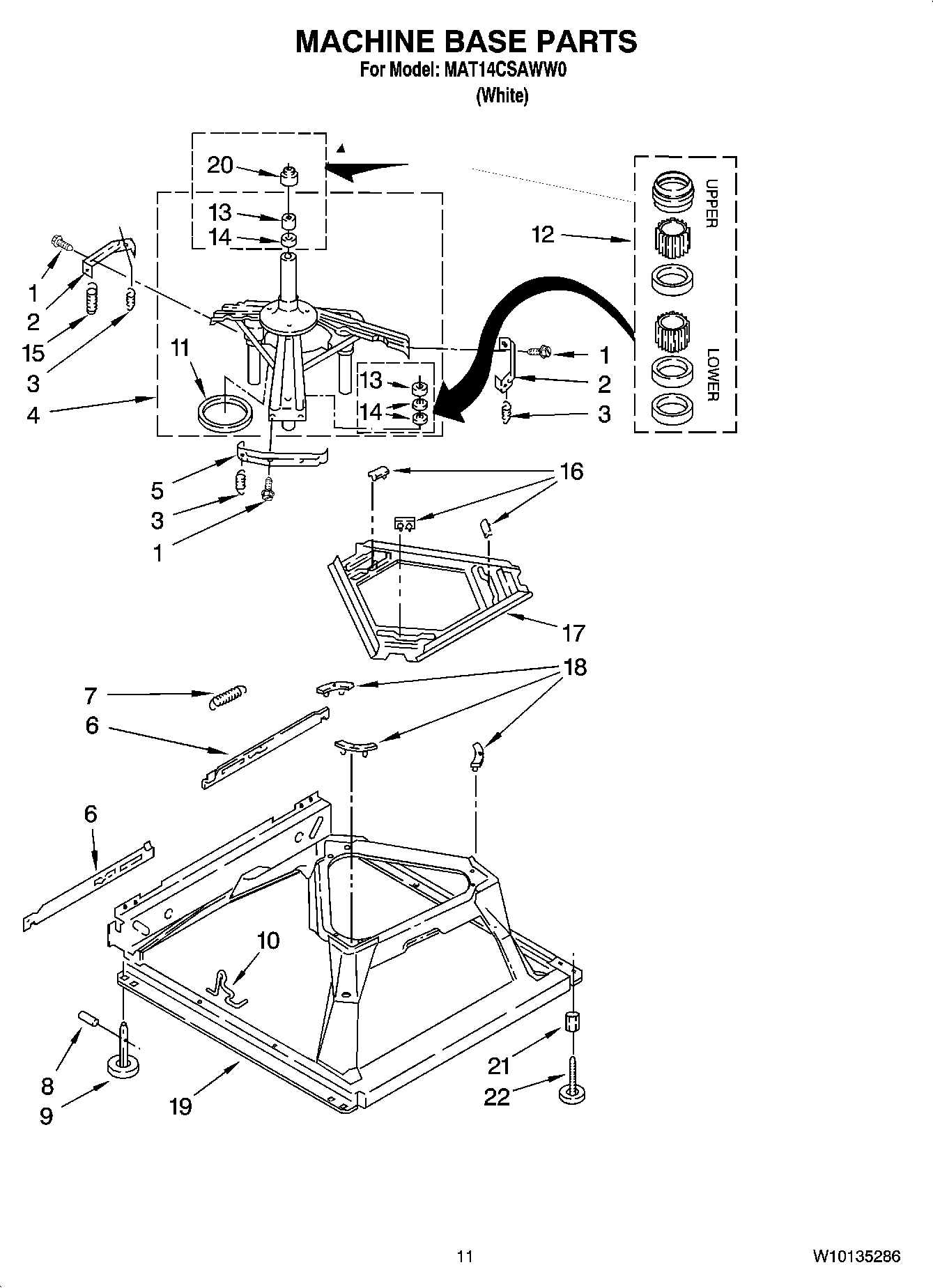
MAT14CSAWW0 07 – MACHINE BASE PARTS