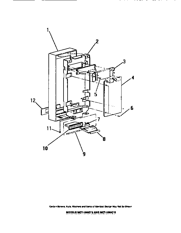
MC690C0 10 – ELECTRICAL CONTROLS, PANEL, TRIM