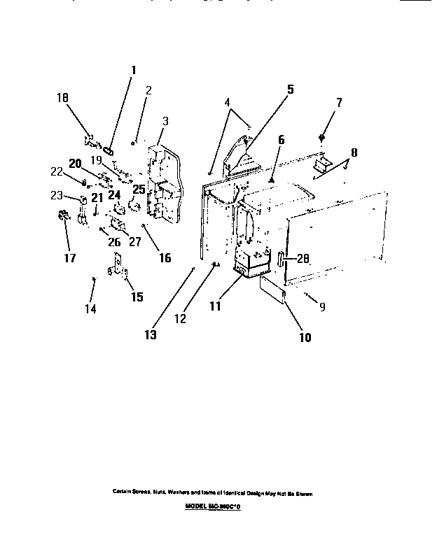
MC690C0 19 – DOOR INTERLOCK SWITCHES, MAGNETRON,admin2025-04-26T09:30:46+00:00MC690C0 19 – DOOR INTERLOCK SWITCHES, MAGNETRON, ProductsPositionProduct1WCI 80094803WCI 80149605WCI 80150517WCI 80095498WCI 800954610WCI 801506111WCI 801289112WCI 801493213WCI 800953514WCI 800950815WCI 801495916WCI 801325617WCI 801493018WCI 801495719WCI 801493420WCI 801493721WCI 801325522WCI 801497923WCI 801492924WCI 801493625WCI 801493526WCI 801335727WCI 801493328WCI 8015060