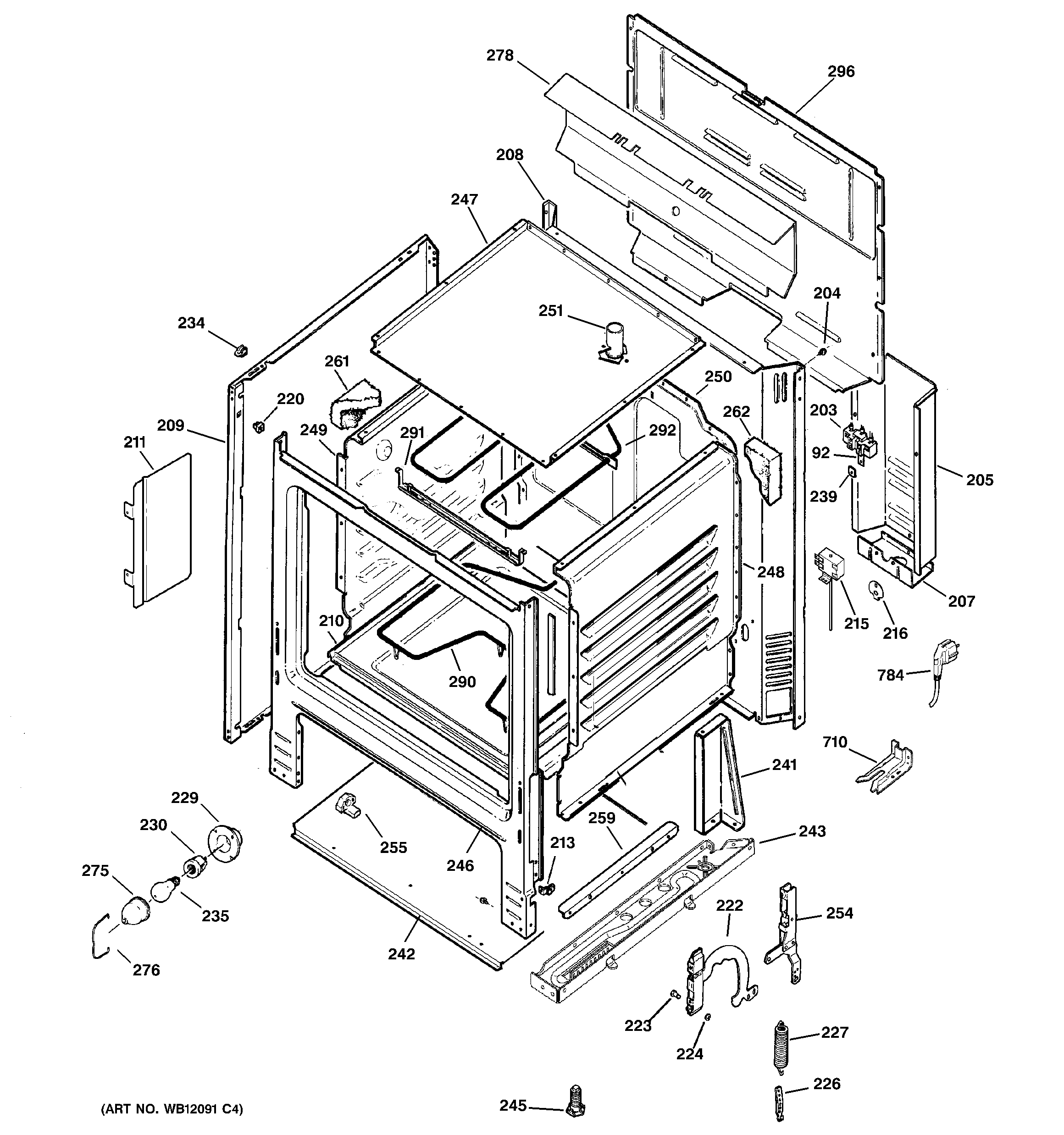
| 92 | WB1X1261 GE Oven Screw |
| 203 | WB17T10011 GE Oven Terminal Block |
| 204 | WB01X23501 GE Oven Screw 8-32 Tapping Flat Head |
| 204 | WZ4X345D GE Screw Package 12 C92 |
| 204 | WB1K5062 GE Oven Screw |
| 204 | WB1X536 GE Oven Screw |
| 205 | WB34K10029 GE Oven Guard Terminal |
| 207 | WB02K10029 GE Oven Mounting Terminal Bracket |
| 208 | GEN WB63K10005 |
| 209 | GEN WB63K10013 |
| 210 | WB63K10006 GE Oven Bottom Assembly |
| 211 | GEN WB49K10004 |
| 213 | WB1K3 GE Oven Speed Nut |
| 215 | GEN WB20K10016 |
| 216 | GEN WB06K10003 |
| 220 | GEN WB02K0008 |
| 222 | WB10K12 GE Oven Hinge Assembly |
| 223 | GEN WB02X6195 |
| 224 | RING RETAINING |
| 226 | GEN WB09K10001 |
| 227 | GEN WB09K0001 |
| 229 | GEN WB08K0001 |
| 230 | WB08T10026 GE Range Push-In Receptacle |
| 234 | GEN WB02K0066 |
| 235 | RANGE ONLY 40W 120V APPL BULB |
| 239 | PLATE GROUND |
| 241 | CLIP WINDOW |
| 242 | GEN WB63K10009 |
| 243 | WB63K10232 GE Oven Support Base |
| 243 | WB63K10233 GE Oven Support Base |
| 245 | WB02X10521 GE Oven Leveling Leg |
| 246 | GEN WB63K10012 |
| 247 | WB63K10021 GE Oven Top |
| 248 | GEN WB63K10010 |
| 249 | GEN WB63K10011 |
| 250 | GEN WB63K10045 |
| 251 | WB38K10002 GE Oven Vent Tube |
| 251 | GEN WB04K10002 |
| 254 | GEN WB10K0014 |
| 254 | GEN WB10K0013 |
| 254 | GEN WB01K0053 |
| 255 | WB02K10158 GE Oven Drawer Support |
| 259 | WB39K16 GE Oven Drawer Rail |
| 261 | WB35K10108 GE Oven Insulation Wrap |
| 262 | GEN WB35K0017 |
| 275 | WB36X192 GE Oven Light Cover |
| 276 | WB2K27 GE Oven Bail |
| 278 | GEN WB34K10032 |
| 290 | WB30X46987 GE Bake Element |
| 291 | WB02K10028 GE Oven Broil Support |
| 292 | WB30X46986 GE Broil Element |
| 296 | GEN WB34K10031 |
| 710 | WB02K10254 GE Oven Anti-Tip Bracket Assembly |
| 784 | WB18K10014 GE Oven Line Cord Kit |