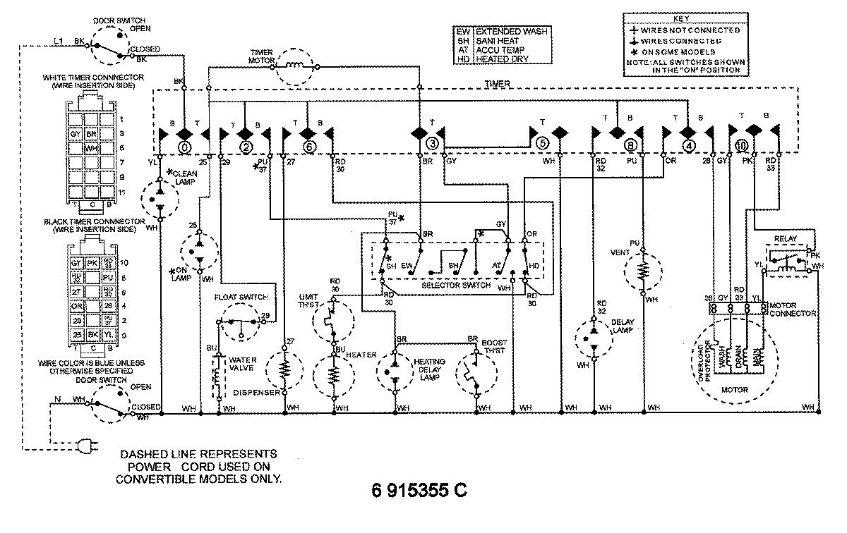
MDB4100AWB 07 – WIRING INFORMATIONadmin2025-04-26T11:35:11+00:00MDB4100AWB 07 – WIRING INFORMATION ProductsPositionProductNIMAY 15002658NIMAY 15002864