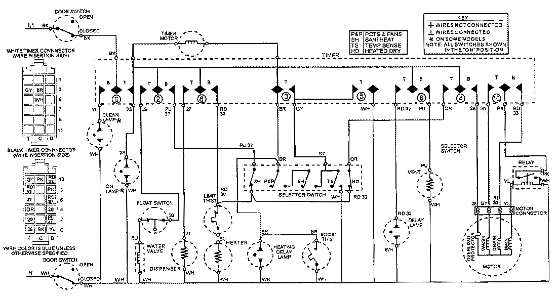
MDB4800AWB 07 – WIRING INFORMATIONadmin2025-04-26T11:35:50+00:00MDB4800AWB 07 – WIRING INFORMATION ProductsPositionProductNIMAY 15002235