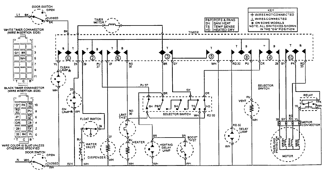
MDB5010AWB 07 – WIRING INFORMATIONadmin2025-04-26T11:33:17+00:00MDB5010AWB 07 – WIRING INFORMATION ProductsPositionProductNIMAY 15002235