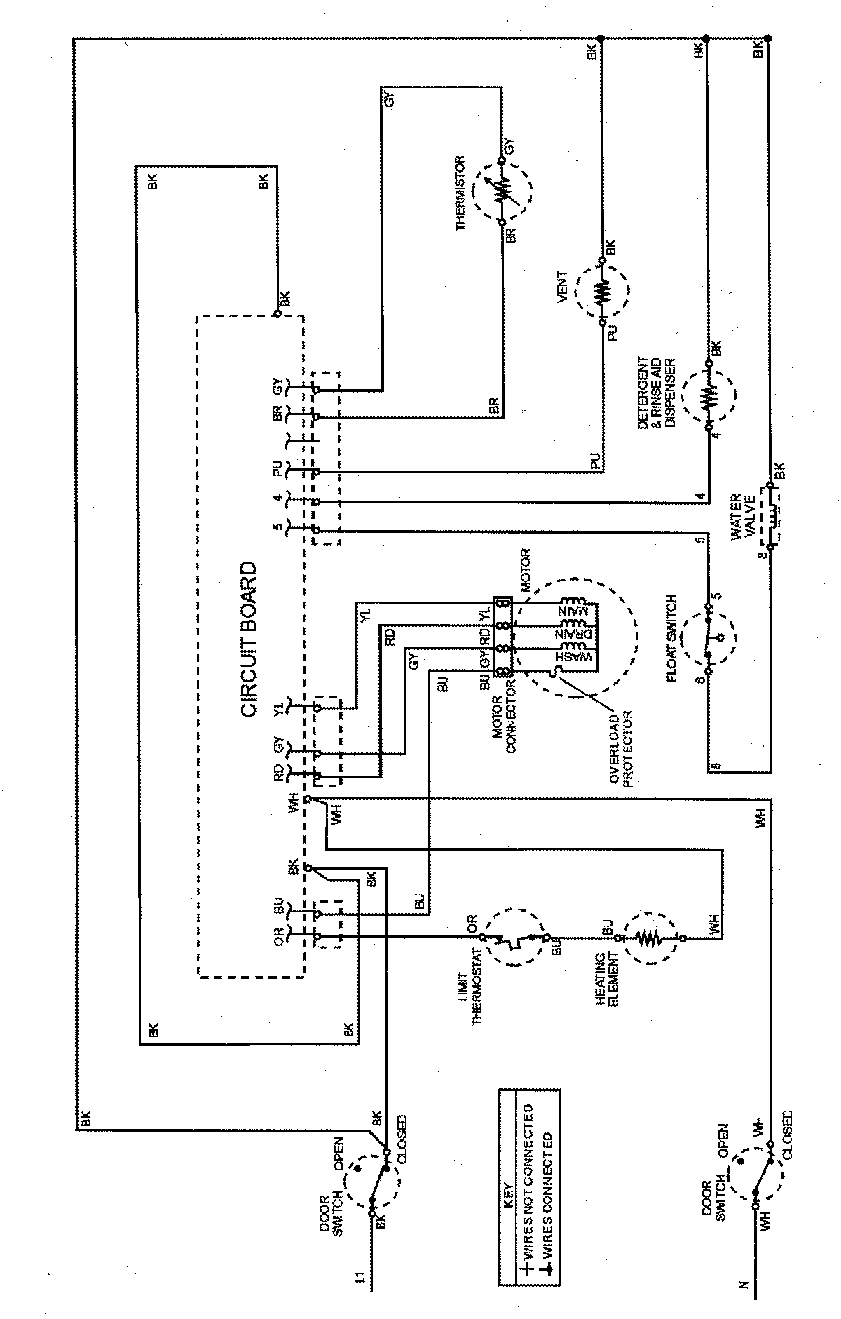
MDB6650AWS 07 – WIRING INFORMATIONadmin2025-04-26T11:33:29+00:00MDB6650AWS 07 – WIRING INFORMATION ProductsPositionProductNIMAY 15002714NIMAY 15002798NIMAY 15002860