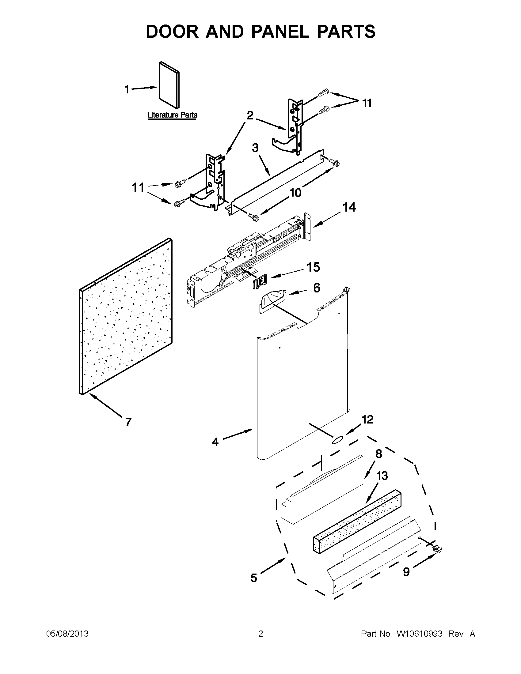
MDB7749SBM2 01 – DOOR AND PANEL PARTSadmin2025-04-26T09:59:10+00:00MDB7749SBM2 01 – DOOR AND PANEL PARTS ProductsPositionProduct1MAY W105805101MAY W105805091MAY W105327621MAY W105551781MAY W104014912MAY 85348532MAY 85348543VAPOR BARRIER ASSEMBLY4FRONT PANEL (INCLUDES ITEMS 6 & 12) (BLACK)4FRONT PANEL (INCLUDES ITEMS 6 & 12) (BISCUIT/BISQUE)4FRONT PANEL (INCLUDES ITEMS 6 & 12) (WHITE)4FRONT PANEL (INCLUDES ITEMS 6 & 12) (STAINLESS)5MAY W103687165MAY W103687155MAY W103687176MAY W104248436POCKET, PANEL (BISCUIT/BISQUE)6MAY W103433226MAY W103433207INSULATION, FRONT PANEL8MAY W103504379MAY W105035499MAY W105035509MAY W1050354810Screw11SCREW12BADGE (BLACK)13INSULATION, TOE PANEL14BRACKET, CONTROL15MAY W10463662