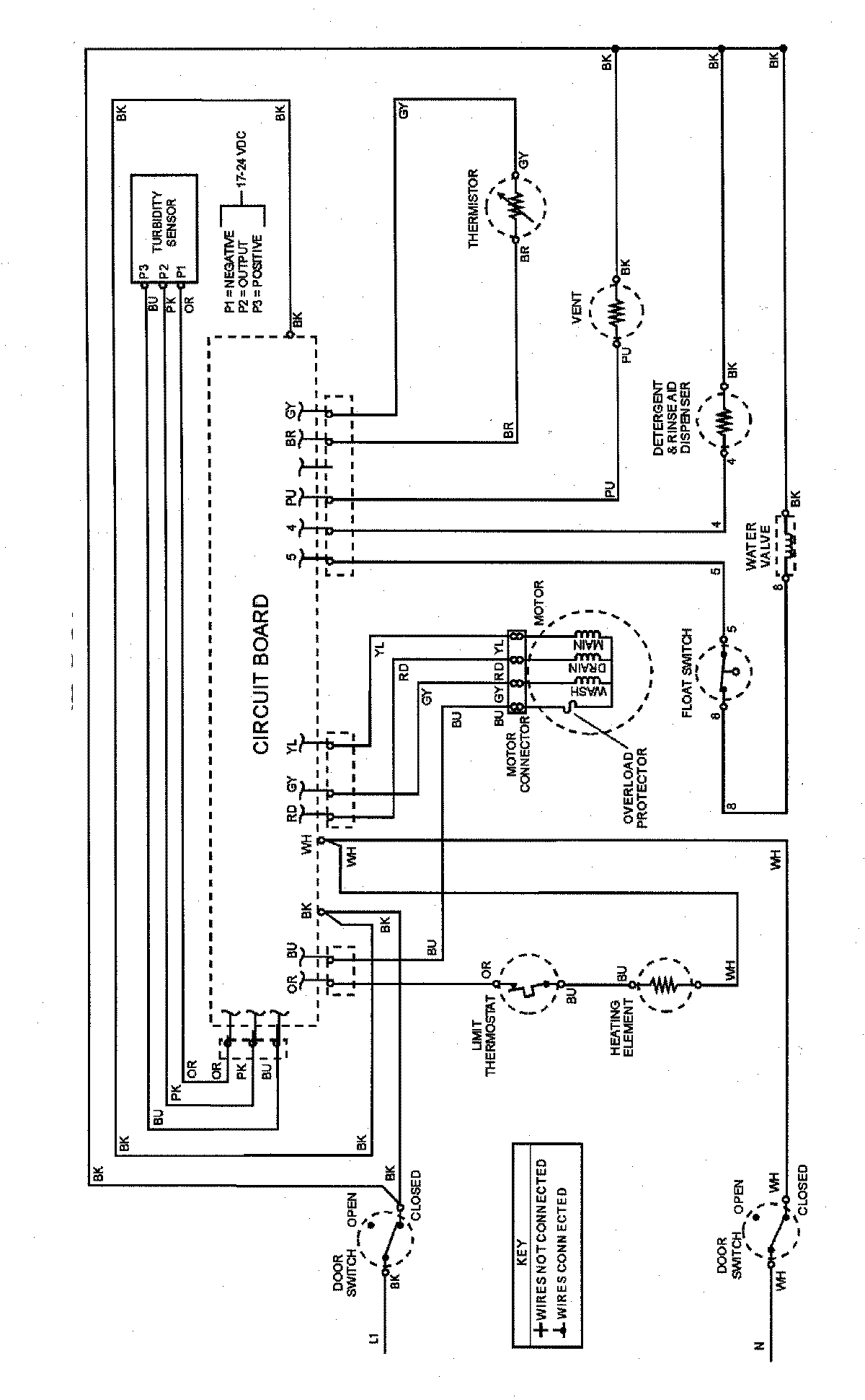
MDB9150AWB 07 – WIRING INFORMATION