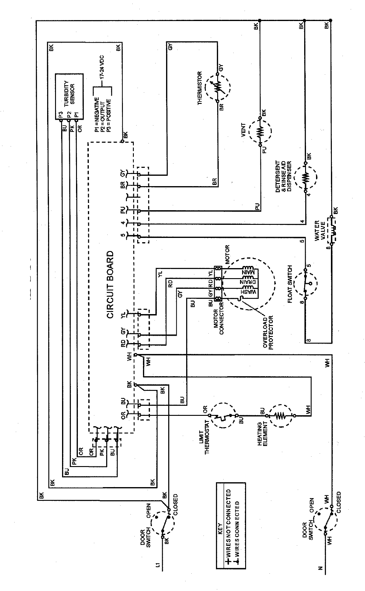
MDB9150AWS 07 – WIRING INFORMATIONadmin2025-04-26T10:06:12+00:00MDB9150AWS 07 – WIRING INFORMATION ProductsPositionProductNIMAY 15002715NIMAY 15002797NIMAY 15002858