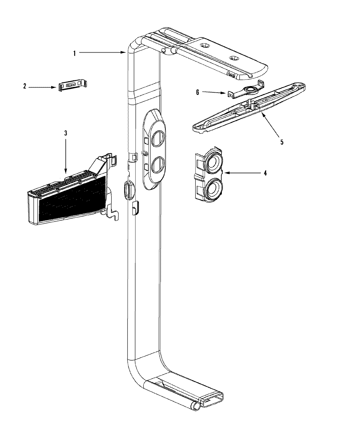
MDBF550AWB 07 – WATER DISTRIBUTION ASSEMBLYadmin2025-04-26T10:09:14+00:00MDBF550AWB 07 – WATER DISTRIBUTION ASSEMBLY ProductsPositionProduct1WP99002642 Whirlpool Dishwasher Manifold2WP99002643 Whirlpool Dishwasher Bracket3NOT REQUIRED PART OR SEE NOTE FUSE (NOT REQUIRED)3MAY 990028464STATION, DOCKING (W/FLAPPER)5MAY 990026766WP99002753 Whirlpool Dishwasher Retainer