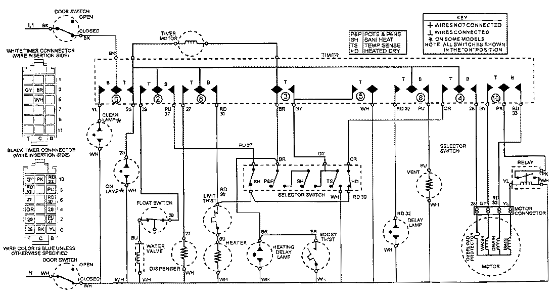
MDC4000AWX 08 – WIRING INFORMATIONadmin2025-04-26T10:03:32+00:00MDC4000AWX 08 – WIRING INFORMATION ProductsPositionProductNIMAY 15002235