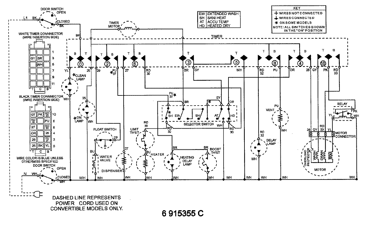
MDC4100AWE 08 – WIRING INFORMATIONadmin2025-04-26T10:06:24+00:00MDC4100AWE 08 – WIRING INFORMATION ProductsPositionProductNIMAY 15002658