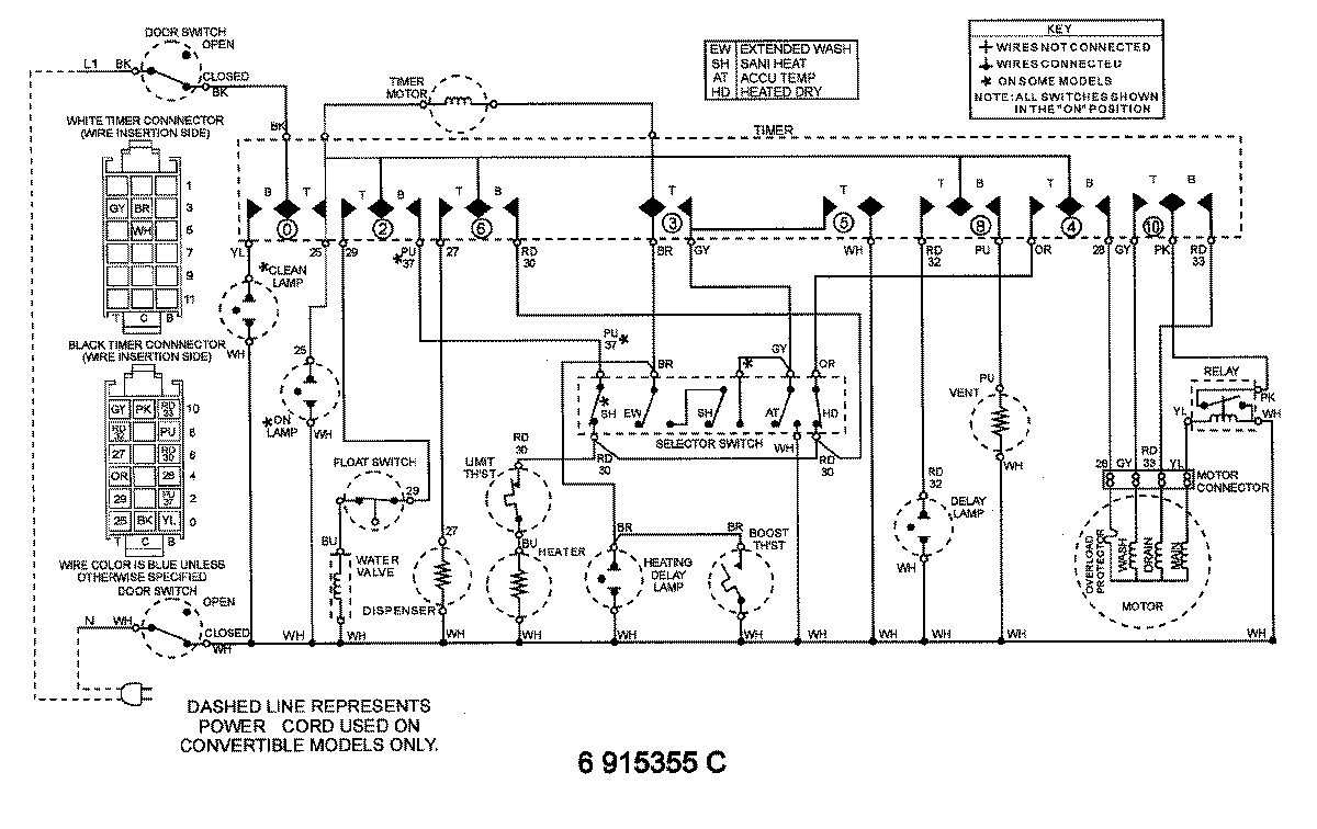
MDC4100AWX 08 – WIRING INFORMATIONadmin2025-04-26T10:07:08+00:00MDC4100AWX 08 – WIRING INFORMATION ProductsPositionProductNIMAY 15002658